Lektion III
Lernzeit: 2 Wochen
Inhalte:
1. Der Stillstand auf dem Standbein – das Pausenzeichen (Abbildungen 1 – 16, Beispiele 1 – 4, Leseübungen 1 – 3)
2. Die Richtungen des unbelasteten Beines / Beingesten (Abbildungen 1 – 17, ab Beispiel 5, ab Leseübung 4)
3. Die Legatobeingeste, der vertikale Bindebogen ( Beispiele 6 – 9, Leseübung 8)
4. Die Gleichzeitigkeit von Schritt/Standbeinbewegung und Beingeste (Beispiel 10, Leseübungen 4 – 11)
1. Der Stillstand auf dem Standbein/Andauern einer Belastung - das Pausenzeichen „Pause im Körper“
Wenn das Körpergewicht auf einem Bein/dem Standbein oder auf beiden Beinen bleiben soll und der Höhengrad sich nicht ändert, dann wird dies grundsätzlich mit dem (kreisrunden)Pausenzeichen geschrieben. Das Pausenzeichen ist ein kleiner Kreis, der in die Übertragungsspalte an den Anfang des Stillstandes geschrieben wird. Wenn das Gewicht von einem Bein auf beide Beine (ohne Höhenlagenänderung) verschoben wird, wird dies für das zuvor belastete Bein auch mit einem Pausenzeichen gekennzeichnet. (Für das hinzukommende neu zu belastende Bein wird natürlich ein entsprechendes Richtungszeichen in die Übertragungsspalte geschrieben.)
Pausenregel: Eine Pause gilt so lange bis eine neue Übertragung oder eine Geste für das betreffende Bein geschrieben steht oder auch eine Übertragung (keine Geste!) auf das andere Beines geschieht. Falls eine Pause für ein Standbein während einer Übertragung auf das andere Bein weiter gelten soll, muss die Pause auf der Standbeinseite (am Beginn der Übertragung auf das andere Bein) wiederholt werden.
Zur Erinnerung: Ein Richtungszeichen in der Übertragungsspalte gilt nur so lange, so lang wie dieses Richtungszeichen ist. Erfolgt keine neue Übertragung oder steht kein Pausenzeichen in der Übertragungsspalte, muss sich das Bein entlasten und vom Boden lösen.
Beispiel 1: Dauer: ein 4/4 Takt, Ausgangsposition: I. Position
1. Viertel: rechtes Bein Schritt vor, 2. Viertel: Pause/Stillstand mit dem Gewicht auf dem rechten Bein bleiben, 3. Viertel: linkes Bein Schritt vor (das rechte Bein wird entlastet, die Pause für das rechte Bein wird widerrufen), 4. Viertel: Pause mit dem Gewicht auf dem linken Bein bleiben.
Beispiel 2: Dauer: zwei 2/4 Takte, Ausgangsposition: I. Position auf den beiden Ballen
1. Takt, 1. Achtel: rechtes Bein Schritt nach rechts auf den Ballen, 2. Achtel: linkes Bein an den Platz schließen neben das rechte Bein auf dem Ballen in die I. Position, rechtes Bein hat Pause/Stillstand (beide Beine sind dann gleichmäßig belastet), 2. Viertel: Pause/Stillstand auf beiden Beinen, Gewicht bleibt auf beiden Beinen, 2. Takt, 1. Achtel: rechtes Bein Schritt vor auf den Ballen, 2. Achtel: linkes Bein Schritt vor auf den Ballen in die IV. Position, rechtes Bein hat Pause/Stillstand (beide Beine sind dann gleichmäßig belastet), 2. Viertel: Pause auf beiden Beinen, Gewicht bleibt auf beiden Ballen.
Merke: Im zweiten Achtel des ersten und zweiten Taktes des Beispiels 2 schreitet man jeweils mit dem linken Bein in eine Position ohne Höhengradwechsel in der beide Beine belastet sind, dies wird mit den Pausenzeichen in der rechten Übertragungsspalte angezeigt. Das Pausenzeichen im dritten Achtel des ersten und zweiten Taktes des Beispiels 2 in der linken Übertragungsspalte zeigt an, dass das linke Bein belastet bleibt (stünde das Pausenzeichen jeweils dort nicht, müsste das linke Bein sofort wieder entlastet werden).
Die Übertragung auf das linke Bein im dritten Viertel des Beispiels 1 widerruft die Pause im zweiten Viertel für das rechte Bein und bedeutet eine Entlastung. Die Übertragung auf das linke Bein im zweiten Achtel des Beispiels 2 bedeutet keine Entlastung des rechten Fußes, da die Pause erst zeitgleich mit der Übertragung geschrieben steht. Auch die Pause im dritten Achtel für das linke Bein widerruft die Pause im zweiten Achtel nicht.
Beispiel 3: Dauer: ein 4/4 Takt, Ausgangsposition: I. Position
1. Viertel: rechtes Bein Schritt vor, 2. Viertel: linkes Bein Schritt an den Platz neben das rechte Bein schließt in die I. Position (beide Beine gleich belastet), 3. Viertel: Pause/Stillstand, beide Beine behalten das Gewicht des Körpers, 4. Viertel: rechtes Bein Schritt nach rechts in die II. Position, linkes Bein behält Gewicht (beide Beine gleich belastet).
Beispiel 4: Dauer: zwei 3/4 Takte, Ausgangsposition: I. Position
1. Takt, 1. Viertel: rechtes Bein Schritt rechts-vor, 2. Viertel: Pause, Gewicht bleibt auf dem rechten Bein, 3. Viertel: linkes Bein Schritt an den Platz neben das rechte Bein schließt in die I. Position, Pause für das rechte Bein, beide Beine werden gleich belastet, 2. Takt, 1. Viertel: Pause/Stillstand für beide Beine, Gewicht bleibt gleich auf beiden Beinen, 3. Achtel: linkes Bein erhebt sich auf den Ballen ohne neuen Schrittansatz (weil die gewinkelte Klammer geschrieben steht), (diese Standbeinbewegung widerruft auch die Pause für das rechte Bein, es löst sich also vom Boden), 4. Achtel: rechtes Bein Schritt nach rechts auf den Ballen, 3. Viertel: rechtes Bein senkt sich auf die ganze Sohle und dabei linkes Bein Schritt an den Platz neben das rechte Bein in die I. Position, beide Beine gleich belastet.
Beispiele
2. Die Richtungen des unbelasteten Beines / Beingesten
Die Richtungen des unbelasteten Beines werden mit denselben schon bekannten Richtungszeichen geschrieben.
Die Bewegungen des unbelasteten Beines werden in die Gestenspalten geschrieben (Spalten 2 siehe Lektion I), also an die Innenseiten der äußeren Linien (Gestenlinien) des Liniensystems.
Die Richtungen des unbelasteten Beines werden vom festen (zentralen) zum freien (peripheren) Ende des Beines berechnet. Das feste Ende des Beines ist der Bereich, wo das Bein mit dem übrigen Körper (fest) verbunden ist, also die jeweilige Hüfte. Das freie Ende des Beines ist der Fuß.
Die Beine werden hier als normal gestreckt angenommen(also nicht fest durchgestreckt wie z.B. im Klassischen Tanz – siehe Lektion VI).
In den Abbildungen 1 bis 17 werden mit Pausenzeichen in der Übertragungsspalte das Bleiben des Gewichtes auf dem jeweiligen Standbein gezeigt. (Der Höhengrad des Standbeines spielt hier keine Rolle und ist daher nicht angegeben.)
In Abbildung 1 steht man auf dem linken Bein, es bewegt sich das rechte (unbelastete) Bein nach rechts: zuerst nach rechts-tief (zwischen dem Standbein und dem unbelasteten Spielbein entsteht ein Winkel von 45 °), dann nach rechts-horizontal (es entsteht ein Winkel von 90 °) und dann nach rechts-hoch (es entsteht ein Winkel von 135 °).
Die Illustrationen links neben den Kinetogrammen verdeutlichen die Beinbewegungen mit einem Strichmännchen.
In Abbildung 2 steht man auf dem rechten Bein, es bewegt sich hier das linke (unbelastete) Bein von links-tief über links-horizontal bis hin zu links-hoch.
In Abbildung 3 steht man auf dem linken Bein, es bewegt sich hier das reche (unbelastete) Bein von vor-tief über vor-horizontal bis hin zu vor-hoch.
In Abbildung 4 steht man auf dem rechten Bein, es bewegt sich hier das linke (unbelastete) Bein von vor-tief über vor-horizontal bis hin zu vor-hoch.
In Abbildung 5 steht man auf dem linken Bein, es bewegt sich das rechte Bein unbelastet zuerst nach rück-tief, dann nach rück-horizontal bis zu rück-hoch.
In Abbildung 6 steht man auf dem rechten Bein, es bewegt sich das linke Bein unbelastet zuerst nach rück-tief, dann nach rück-horizontal bis zu rück-hoch.
Am Ende der Abbildungen 5 und 6 werden die Beine bis nach rück-hoch ohne Belastung bewegt (Der Oberkörper muss nach vorn ausweichen, um diese Beinbewegung möglich zu machen. Die Oberkörperbewegungen müssen natürlich gesondert geschrieben werden. Dieses Thema wird im Teil II des Lehrbuches ab Lektion XVII behandelt.)
In Abbildung 7 steht man auf dem linken Bein, das rechte Bein wird unbelastet nach links-vor-tief, dann nach rechts-vor-tief und am Ende nach rechts-rück-tief gehoben.
In Abbildung 8 steht man auf dem rechten Bein, das linke Bein wird unbelastet zuerst nach vor-tief, dann nach links-horizontal und am Ende nach rück-tief gehoben.
In den Abbildungen 9 – 16 werden alle vier Diagonalrichtungen des linken und des rechten Beines in den drei Höhengraden gezeigt.
In der Abbildung 17 steht man auf dem linken Bein, das rechte (unbelastete) Bein zeigt in die Richtung Platz-tief, das rechte Bein hängt nach unten Richtung Boden, nah am Standbein entlang der Schwerpunktlinie, der Vertikalen ist der rechte Fuß unter der rechten Hüfte. Dann bewegt sich das rechte Bein über rechts-tief, rechts-horizontal, rechts-hoch bis nach Platz-hoch, das rechte Bein ist ganz nah dem Oberkörper nach oben gerichtet.
Merke: Man beachte beim Schreiben der Vor- und Rückrichtungen von Beingesten, dass die „Nasen“ der Richtungszeichen in die Mitte, also hin zur Übertragungsspalte zeigen und nicht an der Gestenlinie entlang geschrieben werden (obwohl es inhaltlich nichts anderes bedeuten würde, es ist eben nur ein Schreibfehler, der am Anfang häufig beim Schreiben von Gesten passiert, der LabanWriter nimmt einem diese Falle ab, er regelt das automatisch).
Abbildungen
Beispiel 5: Dauer: sechs 2/4 Takte, Ausgangsposition: I. Position
1. Takt, 1. Viertel: das rechte Bein wird vor-tief gehoben während das linke Bein belastet bleibt und eine Pause macht, 2. Viertel: das rechte Bein schließt in die I. Position ein an den Platz, neben das linke Bein, das linke Bein bleibt auch in Belastung, es hat Pause, beide Beine sind gleich belastet.
Takt 2, 1. Viertel: das rechte Bein wird nach rechts-tief gehoben während das linke Bein belastet bleibt und die Pause weiter gilt, 2. Viertel: das rechte Bein schließt an den Platz in die I. Position ein, das linke Bein bleibt auch belastet, es hat eine Pause, beide Beine sind gleich belastet,
3. Takt, 1. Viertel: das linke Bein wird nach links-tief gehoben während das rechte Bein belastet bleibt, 2. Viertel: das linke Bein schließt zum Platz in die I. Position mit Kniebeuge ein, das rechte Bein wird ebenfalls in Belastung gebeugt,
4.Takt, 1. Viertel: das linke Bein hebt sich auf den Ballen mit Beinstreckung ohne neuen Schrittansatz (weil die gewinkelte Klammer steht) dabei hebt sich das rechte Bein nach rück-tief, 2.Viertel: das linke Bein bleibt in Belastung und senkt sich auf die ganze Sohle mit Kniebeugung, das rechte Bein bleibt in seiner Gestenrichtung rück-tief,(es wird natürlich mitgetragen)
5. Takt, 1. Viertel: das linke Bein bleibt belastet und hebt sich beim Strecken auf den Ballen,(das rechte Bein wird wieder mitgetragen) 2. Viertel: das linke Bein bleibt belastet während es sich auf die ganze Sohle mit Kniebeugung absenkt während sich das unbelastete rechte Bein nach rechts-tief bewegt,
6. Takt, 1.Viertel: das rechte Bein schließt sich in die I. Position (ganze Sohle, normal gestreckt) an den Platz ein während sich das linke Bein auch streckt und belastet bleibt, (beide Beine sind gleich belastet), 2.Viertel: beide Beine bleiben in der I. Position gleichmäßig belastet und machen eine Pause.
Merke: Zeitschreibregel bei Gesten: Die Länge des Richtungszeichens zeigt auch hier bei den Gesten die jeweilige Länge der Bewegung an. Eine Geste wird so lange gehalten, bis eine neue Bewegung geschrieben steht, d.h. eine Lücke zwischen den Richtungszeichen in der Gestenspalte wie in Beispiel 5, im 8. und 9. Viertel zeigt das Halten der Geste (rechtes Bein bleibt rück tief).
Im 1. und 5. Viertel muss für das Standbein eine Pause geschrieben werden auch wenn das andere Bein eine Geste macht oder eine Übertragung (wie im 2. und 4. Viertel). Im 3. Viertel muss keine Pause für das linke Bein geschrieben werden, da die Pause aus dem 2. Viertel noch gültig bleibt. Eine Geste widerruft eine Pause lediglich desselben Beines (also widerruft nicht eine Pause des anderen Beines – im Unterschied zur Übertragung).
Beispiel

3. Die Legatobeingeste, der vertikale Bindebogen (Beispiele 6 - 9, Leseübung 8)
Beispiel 6a: Dauer: ein 4/4 Takt, Ausgangsposition: I. Position
1.Viertel: linkes Bein beugt sich mit Belastung ohne neuen Schrittansatz während das rechte Bein nach links-vor-tief gehoben wird, 2. Viertel: linkes Bein streckt sich und hebt sich auf den Ballen mit Belastung während das rechte Bein nach rechts-vor-tief gehoben wird, 3. Viertel: linkes Bein senkt sich mit Belastung auf die ganze Sohle während das rechte Bein am Platz in die I. Position ganze Sohle normal gestreckt einschließt, beide Beine tragen gemeinsam das Gewicht, 4. Viertel: beide Beine bleiben in der I. Position im Stillstand/Pause.
Beispiel 6b: Die Bewegungsfolge gleicht der aus Beispiel 6a sowohl in rhythmischer wie räumlicher Hinsicht, jedoch in Vortragsweise besteht für das Spielbein im 1. und 2. Viertel ein Unterschied. In 6a bewegt sich das rechte Bein in einer scharfen Richtungsveränderung, in 6b in einer ununterbrochenen Legatobewegung, einem Bogenweg über links-vor-tief nach rechts-vor-tief. Der kleine vertikale Bogen an der Innenseite der Beingestenrichtungszeichen ist hier als Legatobogen die deutliche Kennzeichnung.
Beispiel 7: Dauer: ein 4/4 Takt, Ausgangsposition: I. Position
Über alle 4 Viertel: auf dem linken Bein stehen bleibend, über die ersten drei Viertel trägt das linke Bein allein das gesamte Gewicht, Im 1. Viertel wird das rechte Bein über vor-tief gehoben, im 2. Viertel: über rechts-tief, im 3. Viertel: nach rück-tief in einem Bogen legato bewegt, und im 4. Viertel wird das rechte Bein in die I. Position am Platz wieder eingeschlossen, so dass beide Beine wieder gemeinsam das Gewicht tragen. Der Beinkreis des rechten Beines ist eine Bewegungsphase, ein kontinuierlicher Bewegungsablauf, der durch den Legatobogen deutlich gekennzeichnet wird. Ohne den Legatobogen würde die Bewegung entsprechend der drei Richtungszeichen nonlegato ausgeführt werden mit kaum wahrnehmbaren Unterbrechungen zwischen den drei Bewegungen.
In Ausnahmefällen (wie z.B. aus Platzgründen) kann der Legatobogen auch außerhalb der Beingestenspalte geschrieben werden.
Beispiel 8a: Das rechte Bein wird im ersten Viertel erst nach rechts-tief gehoben und weiter über das zweite und dritte Viertel in einem Bogen über horizontal auf dem Weg nach vor-tief geführt. (Beachte das geteilte Richtungszeichen vor-horizontal und vor-tief.) Der Legatobogen verbindet die erste Geste mit der zweiten Bewegung zu einer Legatogesamtbewegung. Das geteilte Richtungszeigen über das zweite und dritte Viertel beschreibt eine Bewegung über zwei Viertel nach vorn mit einem Bogen über ein vorübergehendes Heben.
Beispiel 8b ist im ersten Viertel einschließlich des beginnenden Legatobogens mit 8a identisch. Im zweiten Viertel jedoch wird das Bein (legato) direkt nach vor-horizontal geführt und eine neue Bewegung führt das rechte Bein nach vor-tief nach einem kurzen Innehalten, also einer Nonlegatoverbindung.
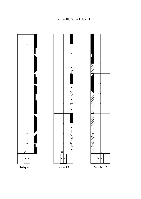
In den Beispielen 6a, 6b, 8a und 8b, 9a, 9b, 10 a – c wird deutlich, wie differenziert ja nuanciert die Bewegungsbeschreibung durch die Kinetographie sein kann bzw. ist in diesen Beispielen mit wenigen Mitteln.
Beispiel 9a: Dauer: zwei 2/4 Takte, Ausgangsposition: I. Position
1. Takt, 1. Viertel: Nach der I. Position als Ausgangsposition verbleibt das Gewicht auf dem rechten Bein und das gesamte Gewicht wird auf rechts übertragen ohne einen neuen Schritt anzusetzen, während es sich auf den Ballen hebt, das linke Bein wird entlastet und als Geste nach links-rück-tief geführt wird, 2. Viertel: das rechte Bein bleibt das Standbein und macht eine Pause während sich das linke Bein über Platz-tief legato nach rechts-vor-tief bewegt, 2. Takt, 1. Achtel: Schritt linkes Bein nach rechts-vor mit Kniebeuge, 2. Achtel: Schritt rechtes Bein nach rechts auf den Ballen, 2. Viertel: Schließen des linken Beines an den Platz in die I. Position neben das rechte Bein, während das rechte Bein am Platz bleibt und auf die ganze Sohle abgesenkt wird. Beide Beine tragen wie in der Ausgangsposition wieder gemeinsam das Gewicht.
Beispiel 9b unterscheidet sich von 9a nur durch eine Legatobeingeste des linken Beines über das erste und zweite Viertel: eine Bogengesamtbewegung als eine Phase über links-rück-tief dann über links-vor-tief nach rechts-vor-tief. Der vertikale Bindebogen verbindet hier alle drei geschriebenen Richtungen des linken Beines. Der vertikale Bogen in 9a verbindet nur die beiden letzten Richtungen, die Bewegung des linken Beines hat also zwei Phasen: eine Hinbewegung (vom Platz nach links-rück-tief) und eine Rückbewegung (nach rechts-vor-tief über Platz tief) mit einem scharfen Richtungswechsel und Innehalten.
Beispiele
4. Die Gleichzeitigkeit von Schritten/Standbeinbewegungen und Beingesten
Die Gleichzeitigkeit von Schrittbewegung (Übertragung des Gewichtes von einem Bein auf das andere) eines Beines und einer Beingeste des anderen Beines hat physische Grenzen: Wenn ein belastetes Bein eine Beingeste machen will, muss das Gewicht erst an das andere Bein abgegeben werden, d.h. die Bewegung der Übertragung muss vor der Geste beginnen. Das wird am deutlichsten, wenn der Schritt in dieselbe Richtung gehen soll wie die (anschließende) Beingeste. Geht die Beingeste jedoch in die Gegenrichtung der Schrittbewegung, dann kann eher der Eindruck der Gleichzeitigkeit entstehen, da durch die Schrittbewegung das andere Bein quasi schon in die Richtung seiner späteren Beingeste unterwegs ist.
Beispiel 10a: Dauer: ein 4/4 Takt, Ausgangsposition: Es ruht das Gewicht auf dem linken Bein mit gebeugtem Knie, während das rechte Bein in der Geste nach rechts-tief gehalten wird.
1. Achtel: Das rechte Bein macht einen Schritt nach rechts auf den Ballen, 2. Achtel: das linke Bein macht einen Schritt an den Platz neben das rechte Bein auf den Ballen, 2. Viertel: das rechte Bein macht einen Schritt mit Kniebeuge nach rechts, während das linke Bein nach links tief als Beingeste gehoben wird. Anschließend werden alle drei Bewegungsphasen symmetrisch wiederholt.
Beispiel 10b: Grob betrachtet ist die Bewegung gleich mit Beispiel 10a. Der Unterschied besteht in der dritten bzw. sechsten Bewegungsphase: In Beispiel a beginnt das Richtungszeichen für die Beingeste etwas später als das Richtungszeichen für den simultanen Schritt in die Gegenrichtung. Die Bewegung von Übertragung und Geste sind miteinander verschmolzen. In Beispiel b ist der Zeitverlauf der Geste mit der des Schrittes vollständig gleichzeitig. Diese Gleichzeitigkeit findet sich in den sogenannten „coupé-Schritten im Klassischen Tanz, in der die Grenze zum Sprung berührt wird, da nur so die Simultanität erreicht wird. (Die Frage steht: wohin mit dem Gewicht?) Die Vortragsweise ist in b eher ein Staccato durch die Beschleunigung der Gewichtsübertragung, in a ein Legato.
Beispiel 10c ist im Groben dieselbe Bewegung wie in 10a und 10b, nur sind die Bewegungen im zweiten Viertel (und im vierten Viertel) von Schritt und Geste zeitlich klar voneinander unterschieden in zwei Achtel, erst kommt die Schrittbewegung und anschließend die Beingeste.
Beispiele
5. Zusammenfassung
1. Der Stillstand des Standbeines wird mit einem Pausenzeichen in der Übertragungsspalte gekennzeichnet. Das Pausenzeichen kann durch ein Richtungszeichen in der Übertragungsspalte oder in der Gestenspalte der selben Körperseite, des selben Beines oder durch ein Richtungszeichen in der Übertragungsspalte des anderen Beines widerrufen werden. Wenn man die Belastung auf dem vorherigen Standbein auch bei einer Widerrufung beibehalten soll, muss die Pause am Anfang neben dem entsprechenden Richtungszeichen wiederholt werden. (Beispiele 1-5)
2. Bei einem Schritt in eine Position (mit Gewicht auf beiden Beinen) ohne Höhenlagenwechsel wird für das verbleibende, zuvor bereits belastete Bein ein Pausenzeichen geschrieben. (Nur in Lektionen I und II kann dies mit einer Wiederholung des Richtungszeichens geschehen, da hier das Pausenzeichen noch nicht eingeführt war.)
3. Die Richtung für die Beingeste schreibt man in die 2. Spalte, die Gestenspalte. Die äußere Seite des Richtungszeichens haftet an der Gestenlinie. Die drei Höhenlagen der Richtungszeichen kennzeichnen die drei Haupthöhenlagen der Gestenrichtungen. (Abbildungen 1-17)
4. Der Stillstand eines Beines in der Luft wird lediglich durch eine Lücke zwischen Richtungszeichen gekennzeichnet. (Das Pausenzeichen wird hier nicht verwendet.) Die geschriebene Geste bleibt hier so lange gültig bis etwas neues geschrieben steht (neue Geste oder neue Übertragung).
5. Bei bogenförmigen Gesten, die durch zwei oder mehrere Richtungszeichen gekennzeichnet werden, wird ein Legatobogen an der Innenseite der Richtungszeichen geschrieben. (Beispiele 6-9)
6. Zum Verhältnis von einer Übertragung und einer Beingeste (des anderen Beines zur selben Zeit): Wenn auf einem belasteten Bein eine Höhenlagenveränderung stattfindet, kann gleichzeitig über die gesamte Zeit eine Beingeste des unbelasteten Beines erfolgen. Wird jedoch ein Schritt (von zwei belasteten Beinen oder von einem belasteten auf das andere belastete Bein) durchgeführt, ist die Gleichzeitigkeit von Schritt und Beingeste (des zu entlastenden Beines) nur mit einem sogenannten Coupé-Schritt ausführbar bzw. zu versuchen, der nah an die Grenze eines Sprunges reicht, um die Gleichzeitigkeit von Schritt und Geste trotz physischer Grenzen zu suggerieren. (Beispiel 10b) Während eines Schrittes eine Beingeste mit dem anderen Bein zu ermöglichen, wird es grundsätzlich einen verzögerten Beginn der Beingeste nach dem Schrittbeginn geben (müssen), (siehe Beispiel 10a).
6. Schreibaufgaben
1.Schreibaufgabe
Dauer: zwei 2/4 Takte, Ausgangsposition: II. Position
1. Takt, 1. Achtel: Schritt rechtes Bein gestreckt ganze Sohle neben das linke Bein an den Platz setzen, 2. Achtel: Schritt linkes Bein gestreckt ganze Sohle neben das rechte Bein an den Platz setzen, 2. Viertel: Schritt rechtes Bein gestreckt ganze Sohle nach rechts in die II. Position setzen, Gewicht auf beiden Beinen,
2. Takt, 1. Achtel: Schritt linkes Bein gestreckt ganze Sohle neben das rechte Bein an den Platz setzen, 2. Achtel: Schritt rechtes Bein gestreckt ganze Sohle neben das linke Bein an den Platz setzen, 2. Viertel: Schritt linkes Bein gestreckt ganze Sohle nach links in die II. Position setzen, Gewicht auf beiden Beinen.
2. Schreibaufgabe
Dauer: zwei 2/4 Takte, Ausgangsposition: I. Position
1. Takt, 1. Viertel: Schritt rechtes Bein nach rechts gestreckt ganze Sohle, 2. Viertel: Schritt linkes Bein gebeugt ganze Sohle neben das rechte Bein an den Platz setzen,
2. Takt, 1. Viertel: Schritt rechtes Bein nach rechts gebeugt ganze Sohle in die II. Position, Gewicht auf beiden Beinen, 2. Viertel: Pause, Gewicht bleibt auf beiden Beinen in II. Position.
3. Schreibaufgabe
Dauer: zwei 3/4 Takte, Ausgangsposition: I. Position
1. Takt, 1. Viertel: Gewicht auf linkem Bein bleibt während sich das Knie beugt, gleichzeitig Schritt rechtes Bein vor mit Kniebeuge in die IV. Position, 2. Viertel: Pause, Gewicht bleibt auf beiden Beinen in der IV. Position, 3. Viertel: Gewichtsverschiebung auf das rechte Bein vor mit Kniestreckung auf den Ballen, währenddessen das linke Bein nach rück-tief gehoben wird,
2. Takt, 1. Achtel: Schritt linkes Bein rück mit gestrecktem Knie auf den Ballen, 2. Achtel: Gewicht bleibt auf linkem Bein, Schritt rechtes Bein neben das linke Bein schließen in die I. Position mit gestrecktem Knie auf Ballen, 2. Viertel: Pause, Gewicht bleibt auf beiden Beinen in I. Position, 3. Viertel: beide Beine senken sich auf ganze Sohle und beugen die Knie in I. Position.
4. Schreibaufgabe
Dauer: zwei 2/4 Takte, Ausgangsposition: I. Position
1. Takt, 1. Achtel: Schritt rechtes Bein nach rechts gestreckt auf den Ballen, 2. Achtel: Schritt linkes Bein rechts-rück gestreckt auf den Ballen, 2. Viertel: Schritt rechtes Bein rechts-rück ganze Sohle in die Kniebeuge, gleichzeitig wird linkes Bein nach links-vor-tief gehoben,
2. Takt, 1. Achtel: Schritt linkes Bein nach links gestreckt auf den Ballen, 2. Achtel: Schritt rechtes Bein links-rück gestreckt auf den Ballen, 2. Viertel: Schritt linkes Bein links-rück ganze Sohle in die Kniebeuge, gleichzeitig wird rechtes Bein nach rechts-vor-tief gehoben.
5. Schreibaufgabe
Dauer: zwei 4/4 Takte, Ausgangsposition: I. Position
1. Takt, 1. Viertel: Schritt rechtes Bein rück gestreckt auf den Ballen, gleichzeitig wird das linke Bein vor-tief gehoben, 2. Viertel: rechtes Bein behält Gewicht, wird gebeugt und auf ganze Sohle abgesenkt, 3. Viertel: Schritt linkes Bein rück gestreckt auf den Ballen, gleichzeitig wird das rechte Bein vor-tief gehoben, 4. Viertel: linkes Bein behält Gewicht, wird gebeugt und auf ganze Sohle abgesenkt,
2. Takt, 1. Viertel: rechtes Bein Schritt rück gestreckt auf den Ballen, 2. Viertel: linkes Bein Schritt rück gestreckt auf den Ballen, 3. Viertel: rechtes Bein Schritt rück gestreckt auf den Ballen, 4. Viertel: linkes Bein Schritt rück gestreckt auf den Ballen.
6. Schreibaufgabe
Dauer: zwei 2/4 Takte, Ausgangsposition: I. Position
1. Takt, 1. Achtel: linkes Bein bleibt belastet und wird gebeugt, gleichzeitig wird das rechte Bein nach links-vor gehoben, 2. Achtel: linkes Bein bleibt belastet, wird gestreckt auf den Ballen gehoben, gleichzeitig wird das rechte Bein nach rechts-tief gehoben, 2. Viertel: linkes Bein bleibt belastet, senkt sich auf ganze Sohle, gleichzeitig schließt das rechte Bein neben das linke Bein auf ganze Sohle in die I. Position, beide Beine sind gleichmäßig belastet.
2. Takt: symmetrische Wiederholung von Takt 1.
7. Schreibaufgabe
Dauer: zwei 2/4 Takte, Ausgangsposition: linkes Bein steht am Platz mit Gewicht, ganze Sohle, gestreckt, rechtes Bein vor-tief gehoben
1. Takt, 1. Achtel: rechtes Bein Schritt vor gebeugt auf ganzer Sohle, zweites und drittes Achtel: linkes Bein Schritt vor gestreckt auf den Ballen heben, 4. Achtel: rechtes Bein Schritt vor gebeugt auf ganzer Sohle,
2. Takt, 1. Viertel: Gewicht bleibt auf rechtem Bein, wird gestreckt und auf den Ballen gehoben, gleichzeitig wird das linke Bein vor-tief gehoben, 2. Viertel: linkes Bein Schritt vor gebeugt auf ganze Sohle während das rechte Bein über rechts-tief nach vor-tief einen Gestenbogen beschreibt.
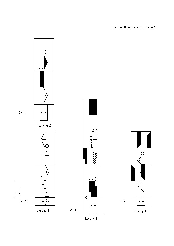
Am Ende werden die Kinetogramme der Schreibaufgabenlösungen zur Selbstkontrolle angegeben.