Lektion IV
Lernzeit: 2 Wochen
Inhalte
1. Teilbelastung und halbe Belastung in Positionen (Abbildungen 1–5, Beispiele 1–4, Leseübung 1)
(Weitere Teilbelastungen siehe Lektion VIII)
2. Entsprechungszeichen / Wiederholungszeichen (Abbildungen 6–9)
2.1. Äußere Wiederholungszeichen
2.2. Innere Wiederholungszeichen
1. Positionen mit halber Belastung
Liegt das Körpergewicht gleichermaßen auf beiden Beinen, spricht man vom ganzen Gewicht auf beiden Beinen (wohl wissend, das jedes Bein nur einen Gewichtsteil von rund der Hälfte trägt). Von diesem ganzen Gewicht pro Bein ausgehend, halbieren wir den Gewichtsanteil auf dem einen Bein und geben die andere Hälfte dem anderen Bein dazu.)
Die so entstandene halbe Belastung eines Beines wird mit einem Richtungszeichen in der Übertragungs- und in der Gestenspalte simultan geschrieben, also liegt die Wahrheit zwischen der vollen Belastung (siehe Übertragungsspalte) und der völligen Entlastung (siehe Gestenspalte). Das Richtungszeichen in der Gestenspalte wird immer mit der Höhenlage tief geschrieben.
Abbildung 1: I. Position, das rechte Bein ist nur halb belastet.
Abbildung 2: II. Position, beide Beine gebeugt, das rechte Bein ist nur halb belastet.
Abbildung 3: IV. Position linkes Bein vor, beide Beine auf dem Ballen, linkes Bein ist halb belastet.
Abbildungen 4–5 weitere Möglichkeiten der Schreibweise von Teilbelastungen durch verschiedene Höhengrade der Gewichtsbelastung. Das Gewicht ist immer mehr auf der Seite, wo die niedrigere Höhenlage steht.
Abbildungen
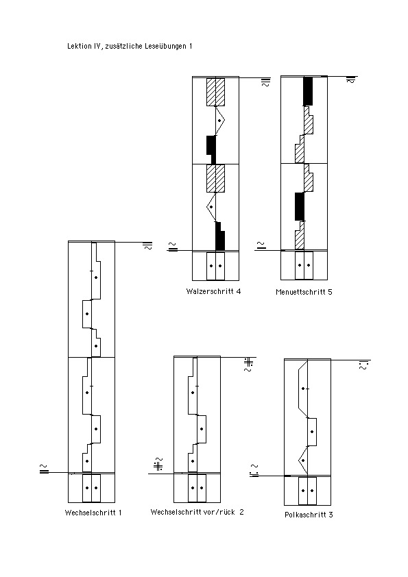
Beispiel 1a: Dauer: drei 2/4 Takte, Ausgangsposition: I. Position
1. Takt, 1. Viertel: linkes Bein in Kniebeuge senken, dabei rechtes Bein Schritt nach rechts-vor in Kniebeuge mit halber Belastung. 2. Viertel: Pause
2. Takt, 1. Viertel: linkes Bein wird normal gestreckt, dabei schließt das rechte Bein normal gestreckt in die I. Position neben das linke. 2. Viertel: Pause
3. Takt, 1. Achtel: Schritt mit dem linken Bein nach links normal gestreckt ganze Sohle. 2. Achtel: rechtes Bein schließt neben das linke Bein an den Platz normal gestreckt, ganze Sohle. 2. Viertel: linkes Bein Schritt nach links in die II. Position mit Kniebeuge, dabei hat das rechte Bein Pause, bleibt also belastet und normal gestreckt, der Schwerpunkt verlagert sich nach links, so dass das rechte Bein am Ende nur noch teilbelastet ist.
Achtung: Das Pausenzeichen im 2. Viertel des Taktes 1 für das rechte Bein mit Halbbelastung bedeutet, dass diese Halbbelastung für das rechte Bein bleibt. Will man während der Pause für das rechte Bein aus der Halbbelastung eine Vollbelastung machen, muss man dies wie in Beispiel 1b schreiben.
(Im ungarischen Volkstanz ist das sogenannte Schließen mit halber Belastung in die I. Position sehr häufig, besonders bei den Tschadrasch-Schritten.)
Beispiel 2: Dauer: zwei 2/4 Takte, Ausgangsposition: I. Position
1. Takt, 1. Viertel: linkes Bein Schritt nach links, 2. Viertel: rechtes Bein Schritt an das linke, das Pause hat, heran an den Platz in die I. Position mit halber Belastung.
2. Takt, 1. Viertel: rechtes Bein Schritt nach rechts, 2. Viertel: linkes Bein Schritt an das rechte, das Pause hat, heran an den Platz in die I. Position mit halber Belastung.
(Ein Schritt-Tschardasch links-rechts)
(Wenn das Bein, das zuletzt in die I. Position geschlossen hat, in die Gegenrichtung sofort wieder öffnet, wird häufig nur wenig bis gar kein Gewicht auf dieses Bein gelegt. Es braucht mehr Bewusstheit und Nachdruck bei der Bewegungsausführung auf dieses schließende Bein mehr Gewicht zu geben.)
Wenn beim Schließen in eine Position kein Höhenlagenwechsel stattfindet, wird für das bleibende Bein ein Pausenzeichen geschrieben!
Beispiel 3: Dauer: zwei 4/4 Takte, Ausgangsposition: I. Position
1. Takt, 1. Viertel: rechtes Bein Schritt vor mit Kniebeuge, 3. Achtel: linkes Bein Schritt vor auf den Ballen, 4. Achtel: rechtes Bein Schritt vor auf den Ballen, 3. Viertel: linkes Bein Schritt nach links mit Kniebeuge, 4. Viertel: linkes Bein wird normal gestreckt, dabei wird das rechte Bein mit halber Belastung an das linke Bein gesetzt in die I. Position.
2. Takt, 1. Viertel: rechtes Bein Schritt rück mit Kniebeuge, 3. Achtel: linkes Bein Schritt rück auf den Ballen, 4. Achtel: rechtes Bein Schritt rück auf den Ballen, 3. Viertel: linkes Bein Schritt nach links mit Kniebeuge, 4. Viertel: linkes Bein wird normal gestreckt, dabei wird das rechte Bein mit halber Belastung an das linke Bein gesetzt in die I. Position.
Beispiel 4: Dauer: zwei 2/4 Takte, Ausgangsposition: I. Position
1. Takt, 1. Viertel: rechtes Bein Schritt rechts-vor mit Kniebeuge, 2. Viertel: rechtes Bein wird normal gestreckt und auf den Ballen gehoben, dabei wird das linke Bein an das rechte mit halber Belastung in die I. Position auf den Ballen gesetzt.
2. Takt, 1. Viertel: linkes Bein Schritt links-rück mit Kniebeuge, 2. Viertel: linkes Bein wird normal gestreckt und auf den Ballen gehoben, dabei wird das rechte Bein an das linke mit halber Belastung in die I. Position auf den Ballen gesetzt.
Sowohl in Beispiel 3 und Beispiel 4 geschieht das Schließen in die I. Position mit einem Höhenlagenwechsel für das vorherige Standbein. Deshalb muss für das jeweilige Standbein kein Pausenzeichen sondern ein Richtungszeichen geschrieben werden.
Beispiele

2. Entsprechungszeichen / Wiederholungszeichen
Die Entsprechungszeichen / Wiederholungszeichen ermöglichen, dass man sich wiederkehrende bzw. sich wiederholende Bewegungen nicht wieder ganz hinschreiben bzw. voll ausschreiben muss. Sie rationalisieren das Aufschreiben und zeigen deutlich die Wiederkehr von Tanzmotiven und Tanzthemen. Wir unterscheiden vier Grundtypen von Entsprechungszeichen.
1. Das Gleichheitszeichen sieht man in Abbildung 6a. Es wird verwendet, wenn eine Bewegung oder ein Bewegungsmotiv gleich, genau so, also völlig identisch wiederholt werden soll, die Richtungen bleiben alle gleich und die sich bewegenden Körperteile auch.
2. Das Symmetriezeichen sieht man in den Abbildungen 6b und 7. Es wird verwendet, wenn eine Bewegung symmetrisch wiederholt werden soll. Die Fußillustration in Abbildung 7 weist darauf hin, dass hier die Bewegung, die das linke Bein macht, bei der Wiederholung das rechte Bein (später natürlich auch der Arme) ausführen soll und umgekehrt.
Aus Bewegungen nach rechts werden Bewegungen nach links und umgekehrt. Aus Bewegungen nach rechts-vor werden Bewegungen nach links-vor und umgekehrt, aus Bewegungen nach rechts-rück werden Bewegungen nach links-rück und umgekehrt. Bewegungen nach vorn bleiben nach vorn, Bewegungen nach rück bleiben nach rück.
3. Das Zeichen der Vor-rück-Entsprechung sieht man in den Abbildungen 6c und 8. Vorwärtsbewegungen werden zu Rückwärtsbewegungen und umgekehrt.
Die Bewegungen des rechten Beines verbleiben beim rechten Bein, die Bewegungen des linken Beines verbleiben beim linken Bein (später natürlich auch der Arme). Bewegungen nach rechts verbleiben nach rechts, Bewegungen nach links verbleiben nach links. Aus Bewegungen nach rechts-vor werden Bewegungen nach rechts-rück und umgekehrt, aus Bewegungen nach links-vor werden Bewegungen nach links-rück und umgekehrt.
4. Das Zeichen des Gegenspiels sieht man in den Abbildungen 6d und 9. Das Zeichen des Gegenspiels ist eine Kombination aus symmetrischer Wiederholung und Vor-rück-Entsprechung und wird deshalb auch als symmetrische Vor-rück-Entsprechung bezeichnet.
Aus Bewegungen des rechten Beines werden Bewegungen des linken Beines (später natürlich auch der Arme) und umgekehrt. Aus Bewegungen nach vorn werden Bewegungen nach rück und umgekehrt, aus Bewegungen nach rechts werden Bewegungen nach links und umgekehrt, aus Bewegungen nach rechts-vor werden Bewegungen nach links-rück und umgekehrt, aus Bewegungen nach links-vor werden Bewegungen nach rechts-rück und umgekehrt. (Siehe auch Abbildungen 1a -s der Lektion I: Spiegelung der Richtungszeichen um die Längsachse in den Abbildungen 1e und f, 1k und l, 1m und n, 1r und s und zusätzliche Spiegelung der Richtungszeichen um die Horizontalachse in den Abbildungen 1g und h, 1i und j, 1o und p 1t und u.)
(Die Auswirkungen der Entsprechungs-/Wiederholungszeichen auf Drehungen werden in Lektion XII, Abbildungen 24 a, b und c gezeigt.)
Diese 4 Grundtypen der Entsprechungszeichen werden in diesem Lehrbuch als äußere Wiederholungszeichen außerhalb des Liniensystems angewendet bei der Wiederholung von Motiven oder Motivteilen, die mindestens die Länge eines oder mehrerer Takte umfassen. Oder sie werden innerhalb des Liniensystems für Bruchteile von Takten oder für die spätere Wiederkehr von Tanzmotiven als innere Wiederholungszeichen angewendet.
Abbildungen

2.1. Äußere Wiederholungszeichen
Abbildungen 10 bis 13 zeigen, dass die Entsprechungszeichen das zu wiederholende Motiv oder den zu wiederholenden Takt umrahmen: die Zeichen werden an den zu verlängernden Taktstrich paarweise geschrieben, das Entsprechungszeichen für den Anfang linksseitig unten über den Taktstrich und für das Ende rechtsseitig oben unter den Taktstrich. Der Taktstrich muss um mindestens ein Kästchen (des kleinkarierten Papiers) über die äußere Gestenspalte hinaus verlängert werden. Beim Gleichheitszeichen und beim Symmetriezeichen (Abbildungen 10 und 11) ist eine Linie des Zeichens identisch mit dem verlängerten Taktstrich.
Abbildungen

Die Beispiele 5a, b bis 8a, b zeigen einen Einschritt-Tschardasch, den man auf vier verschiedene Weisen wiederholen kann. In den a-Beispielen wurde der Tschardasch mit Wiederholungszeichen geschrieben und in den b-Beispielen vollständig ausgeschrieben.
Der Einschritt-Tschardasch des Beispieles 2 (zwei 2/4 Takte) kann wie in Beispiel 9 mit Wiederholungszeichen (Symmetrie) kürzer geschrieben werden.
Das Beispiel 4 (zwei 2/4 Takte) kann wie in Beispiel 10 mit Wiederholungszeichen (Gegenspiel/symmetrische Vor-rück-Entsprechung) kürzer geschrieben werden.
Das Beispiel 3 (zwei 4/4 Takte) kann wie in Beispiel 11 mit Wiederholungszeichen (Vor-rück-Entsprechung) kürzer aufgezeichnet werden.
Beispiele
Beispiel 12a: Dauer drei 2/4 Takte (mit Wiederholungen 10 Takte), Ausgangsposition: I. Position
1. Takt, 1. Viertel: rechtes Bein Schritt nach links-vor mit Kniebeuge, 3. Achtel: linkes Bein Schritt nach links-vor auf den Ballen, 4. Achtel: rechtes Bein Schritt an den Platz, neben das linke Bein auf den Ballen.
2. Takt: symmetrische Wiederholung von Takt 1.
3. Takt, 1. Viertel: rechtes Bein Schritt nach links-vor mit Kniebeuge, 2. Viertel: linkes Bein Schritt links-rück auf den Ballen.
4. Takt: Identische Wiederholung von Takt 3.
5. Takt, 1. Viertel: rechtes Bein Schritt nach links-vor mit Kniebeuge, 3. Achtel: linkes Bein Schritt nach links-rück auf den Ballen, 4. Achtel: rechtes Bein Schritt an den Platz neben das linke Bein auf den Ballen.
6. – 10. Takt: Symmetrische Wiederholung der Takte 1 – 5.
Merke: Zuerst werden die Bewegungen ausgeführt, die ausgeschrieben im Kinetogramm stehen, dann werden die Wiederholungszeichen ausgeführt, die nah an den ausgeschriebenen Bewegungen stehen (untergeordnete Wiederholungszeichen), danach werden die übergeordneten Wiederholungszeichen, die weiter außerhalb stehen und größer bzw. dicker geschrieben werden, ausgeführt.
In Beispiel 12b wurde die gesamte Motivkombination ohne die untergeordneten Wiederholungszeichen voll ausgeschrieben. Es ist zu beachten, dass beide untergeordnete Wiederholungszeichen besagen, dass die jeweilige Bewegung zweimal ausgeführt werden soll. Ein sogenanntes übergeordnetes Wiederholungszeichen besagt, dass die gesamte Motivkombination hier symmetrisch wiederholt werden soll (insgesamt auch zweimal ausführen).
Wenn das Motiv mehr als zweimal ausgeführt werden soll, wird dies mit Zahlen (also ab der Zahl 3) gekennzeichnet, die die Gesamtzahl der Ausführungen benennt. Diese Zahlen werden wie in den Abbildungen 13 bis 17 am Anfang links über dem Entsprechungszeichen und am Ende rechts unter dem Entsprechungszeichen geschrieben. Bei der Vor-rück-Entsprechung werden die Zahlen jeweils nach innen zum Liniensystem hin platziert. (Abbildung 16)
Abbildungen
Beispiel 13: Dauer: mit allen Wiederholungen 10 2/4 Takte, Ausgangsposition: I. Position
1. Takt, 1. Viertel: Rechtes Bein Schritt vor ganze Sohle, 2. Viertel: rechtes Bein Pause, Gewicht bleibt, dabei wird das linke Bein mit halbem Gewicht einen Schritt an den Platz neben das rechte Bein auf die ganze Sohle gesetzt.
2. – 4. Takt: Takt 2 wird mit Gegenspiel/symmetrischer Vor-rück-Entsprechung noch dreimal (insgesamt also viermal) wiederholt, d.h. dass die Takte 2 und 4 mit dem linken Bein einen Schritt rück ausführen.
5. Takt, 1. Viertel: Rechtes Bein Schritt nach rechts mit Kniebeuge, 2. Viertel: linkes Bein Schritt an den Platz neben das rechte Bein auf ganze Sohle normal gestreckt setzen.
6. – 10. Takt: die Takte 1 – 5 werden mit Vor-rück-Entsprechung wiederholt.
Man tanzt hier also einen Vor-Rück-Tschardasch insgesamt viermal und nach Takt 5 noch viermal einen Rück-Vor-Tschardaschschritt. Man kann sich merken, dass man die geraden Wiederholungen anders als die ausgeschriebenen Notierungen aber die ungeraden genau so wie die ausgeschriebenen Notierungen tanzt.
Beispiele
Abbildung 18 zeigt die identische Wiederholung, wo jedoch die Anzahl der Wiederholungen beliebig, nicht genau festgelegt ist, unbekannt ist, vom Bewegenden abhängig, ad libitum. Dies wird genutzt, wenn die Wiederholung in Übungen abläuft oder vom Spielen der Musiker abhängig ist.
(Siehe A. Knust 834, 839, 999, A. Hutchinson 529, 531 a, b)
Abbildungen 19 a und b sind Wiederholungen „im Kreuz“ (en Croix) , die im Klassischen Tanztraining sehr häufig Anwendung finden und das Aufschreiben rationalisieren. 19 a ist das „unvollständige Kreuz“ (Bewegung des Spielbeines vor, seit, rück) und 19 b ist das „vollständige Kreuz“ (Bewegung des Spielbeines vor, seit, rück, seit) beim battement tendu und battement tendu jeté.)
Abbildungen
Beispiel 14: Dauer: zwei 4/4 Takte, Ausgangsposition: I. Position
1. Takt: drei Schritte vor auf je ein Viertel mit dem rechten Bein begonnen, 4. Viertel: linkes Bein wird vor-tief gehoben.
2. Takt: drei Schritte rück auf je ein Viertel mit dem linken Bein begonnen, 4. Viertel: rechtes Bein wird vor-tief gehoben.
Oberflächlich könnte man zu der Auffassung kommen, den 1. Takt mit symmetrischer Vor-Rück-Entsprechung wiederholen zu können. Genauer hingeschaut sieht man, dass dies nur ginge, wenn die letzte Beingeste des rechten Beines nach rück-tief gehoben werden würde.
In Beispiel 15a kann man die ausgeschriebene Schreibversion finden, in 15 b die verkürzte mit dem Wiederholungszeichen des unvollständigen Kreuzes, in Beispiel 16a bzw. 16b das vollständige Kreuz (mit Kniebeuge, demi plié, beim Einschließen in die I. Position.)
In Beispiel 17 wird das rechte Bein viermal nach vor-tief gehoben und dieses dann im unvollständigen Kreuz weiter geführt, also viermal nach rechts-tief und dann viermal nach rück-tief gehoben und eingeschlossen mit Kniebeuge.
Im Beispiel 18 wird einmal das rechte Bein nach vor-tief gehoben und wieder eingeschlossen und dies im vollständigen Kreuz und anschließend in symmetrischer Wiederholung (also mit dem linken Bein vor-links-rück-links) ausgeführt.
Im Beispiel 19 wird einmal das rechte Bein nach vor-tief gehoben und wieder eingeschlossen, dies wird im unvollständigen Kreuz weitergeführt. Diese unvollständigen Kreuze sollen insgesamt viermal ausgeführt werden, anschließend soll die gesamte Bewegungsfolge in symmetrischer Wiederholung ausgeführt werden.
Merke, dass immer von innen nach außen gelesen und bewegt werden muss, d.h. zuerst die Bewegung wie sie ausgeschrieben im Liniensystem ist, dann das untergeordnete Wiederholungszeichen und am Ende das dicker bzw. größer geschriebene übergeordnete Wiederholungszeichen.
Beispiele
2.2. Innere Wiederholungszeichen
Werden Entsprechungszeichen innerhalb des Liniensystems zur Anzeige von Wiederholungen geschrieben, wird es jeweils nur mit einem Zeichen angegeben (im Gegensatz zu den äußeren Wiederholungsangaben, die immer zwei Zeichen brauchen). Innere Wiederholungszeichen werden auch bei Taktteilen (kleiner, gleich oder größer eines jeweiligen Taktes) siehe Abbildungen 6 a, b, c, d verwendet. Das innere Entsprechungszeichen für identische/gleiche Wiederholung ist gleich dem Wiederholungszeichen in der Musik einem Strich mit zwei Punkten, das innere Wiederholungszeichen für die symmetrische Wiederholung ist entsprechend dem Zeichen mit einem Doppelstrich und zwei Punkten. (Beispiele 20b, 21b, 22)
In Beispiel 20a ist das zweite mit dem ersten Viertel identisch und kann wie in 20b geschrieben werden. Anstatt es nochmals auszuschreiben, wird das identische Entsprechungszeichen in die Mitte des leeren zweiten Viertels platziert.
In Beispiel 21b sind das zweite und dritte Viertel jeweils mit dem ersten Viertel identisch und kann wie in 21b mit zwei identischen Entsprechungszeichen gekennzeichnet werden, die in die Mitte des jeweiligen Taktteiles, hier eines Viertels geschrieben werden.
Es ist hilfreich, den zeitlichen Abschnitt, der wiederholt werden soll, mit je einer dünnen unterbrochenen Linie einzurahmen und dadurch für den Leser klar zu kennzeichnen wie in Beispiel 22. Hier werden das 2. und 3. Achtel zweimal identisch (im 4. und 5. Achtel und im 6. und 7. Achtel) wiederholt.
In Beispiel 23a werden Takt 1 die ersten drei Bewegungsphasen (in dem ersten und zweiten Viertel) im Gegenspiel/in symmetrischer Vor-Rück-Entsprechung (im dritten und vierten Viertel) wiederholt. Im Takt 2 wird das erste Viertel im zweiten Viertel symmetrisch wiederholt, und im dritten Viertel identisch wiederholt.
Zu beachten ist beim Nutzen von Entsprechungszeichen als innere Wiederholung, dass sich die Entsprechungszeichen immer auf die zuvor ausgeschriebenen Bewegungsmotive beziehen und nicht auf ein zuvor benutztes Entsprechungszeichen. (In Beispiel 23b muss der zweite Einschritt-Tschardasch nach links, also symmetrisch und der dritte wieder nach rechts wie der ausgeschriebene erste getanzt werden.)
Merke: Ein Entsprechungszeichen darf man erst benutzen, wenn das zu wiederholende Motiv mindestens zwei Phasen umfasst, d.h. einphasige Bewegungen sollen immer ausgeschrieben werden.
Beispiele
2.3. prima volta - seconda volta
Die aus der Musiknotation bekannte Bezeichnung prima volta – seconda volta wird auch in der Kinetographie genutzt, wenn bei einem sich wiederholenden Motiv sich der Schluss (oder auch der Anfang) bei der Wiederholung geändert hat. Der sich verändernde Teil kann eine Bewegung oder auch mehrere Takte umfassen.
Wie in Abbildung 20 zu sehen, wird das in der Musik bekannte Zeichen genutzt, nur werden hier zwei Abschlussstriche (am jeweiligen Anfang und Ende) geschrieben. Das gesamte Zeichen wird links neben das Liniensystem in einem Minimalabstand von einem Kästchen bei benutztem kleinkarierten Papier gesetzt.
Abbildungen
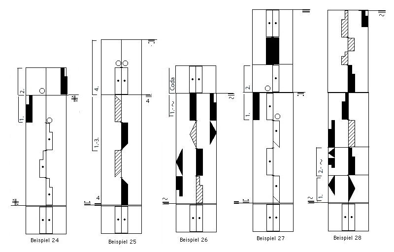
Das Beispiel 14 kann mit dem prima volta – seconda volta – Zeichen wie in Beispiel 24 notiert werden. Das
„prima volta-Zeichen“ begrenzt den Teil der Bewegung, der sich bei der Wiederholung verändern wird. Das „sekonda volta – Zeichen“ umfasst den neuen veränderten Teil. Hier in unserem Beispiel ist es die Geste des rechten Beines nach vor-tief über ein Viertel.
Das Beispiel 25 zeigt, dass dieses Zeichen auch seine Anwendung in mehrmaligen Wiederholungen findet, wo es beim letzten Durchlauf eine Veränderung gibt: Hier wird ein über vorn und über hinten viermal ausgeführter Kreuzschritt am Ende statt des hinten Kreuzens mit dem rechten Bein in die I. Position eingeschlossen. Die gesamte Bewegungsfolge über 4 4/4 Takte wird symmetrisch wiederholt. Am Ende von Takt 4 und von Takt 8 wird sekonda volta getanzt.
Beispiel 26 zeigt, dass nach einer beliebig häufigen Wiederholung erst ganz am Ende einmalig seconda volta auszuführen ist, wie man es sehr oft in Trainingsübungen antrifft. Prima volta umfasst die Bewegung vom ersten Tanzen bis zum beliebig häufig wiederholten Tanzen. In die Klammer der sekonda volta schreibt man „coda“ oder „fine“.
Beispiel 27 zeigt einen Zweischritt-Tschardasch nach rechts-rück diagonal, im vierten Viertel des 1. Taktes mit Schließen in die I. Position mit Teilbelastung und im 2. Takt (links-rück diagonal) mit voller Belastung. Danach werden beide Beine gebeugt und gestreckt. Da die übergeordneten Wiederholungszeichen ganz am Anfang und am Ende stehen, wird die gesamte Bewegungsfolge (mit symmetrischer Wiederholung des ersten Taktes) einschließlich Abschluss identisch wiederholt.
Beispiel 28 zeigt das prima volta – seconda volta – Zeichen am Anfang einer Bewegungsfolge. Beim erstmaligen Tanzen ist die erste Phase anders als bei allen darauffolgenden unendlich vielen Wiederholungen. Man achte darauf, dass nach der prima volta Bezeichnung und nach der seconda volta Bezeichnung der sich veränderte Teil von verstärkten Linien (ähnlich einem Taktstrich) abgegrenzt wird, um die Aufmerksamkeit auf die Veränderung zu richten. Beim erstmaligen Tanzen muss der eingerahmte Teil übersprungen werden: 1. Phase ist ein Schritt mit dem rechten Bein nach rechts mit Kniebeuge und linkes Bein Geste nach links-tief. 2. Phase ist Streckung des rechten Beines am Platz auf den Ballen heben und linkes Bein Geste nach vor-tief. Ab dem zweiten Vortanzen ist die stark eingerahmte Phase zu tanzen: rechtes Bein Schritt vor mit Kniebeuge mit Geste des linken Beines über rück-tief nach links-tief.
Anmerkung: In den Beispielen 24 bis 28 wurden die prima volta – seconda volta – Zeichen entweder am Beginn oder am Ende eines Taktes angewandt.
Beispiele
2.4. Reprise
Von Reprise spricht man, wenn innerhalb einer Bewegungsfolge irgendein Abschnitt wiederkehrt.
A Die Reprise kann gleich/identisch, symmetrisch, in Vor-rück-Entsprechnung oder auch in symmetrischer Vor-rück-Entsprechung/Gegenspiel zurückkehren.
B Der wiederkehrende Teil kann auch ein Bruchteil eines Taktes sein, der in einem beliebigen Taktteil als Reprise wiederkehren kann.
C Es ist auch eine solche Wiederkehr möglich, wobei sich eine oder mehrere Phasen des betreffenden Teiles verändern.
Das Reprisenzeichen ist in Abbildung 21 zu sehen. Die kleinen Quadrate sollen mindestens ein Kästchen von der Gestenlinie nach außen entfernt sein. Das Zeichen umfasst jenen Teil des Motives, der wiederkehrt. Da bei langen Bewegungsfolgen auch mehrere Motive und ihre Bestandteile wiederkehren können, schreibt man in die Quadrate Großbuchstaben, um diese Abschnitte genau identifizieren zu können und voneinander zu unterscheiden. Die möglichen Varianten der Reprise werden mit den Entsprechungszeichen für die inneren Wiederholungen gekennzeichnet. Soll eine Reprise gleich bzw. identisch wiederholt werden, nutzt man z. B. das Wiederholungszeichen aus der Musik (ein schräger Strich mit den zwei Punkten).
Anmerkung: Die Regeln der Reprise werden in den folgenden Beispielen und Leseübungen aus Platzgründen in relativ kurzen Bewegungsfolgen aufgezeigt.
Abbildungen
1. Beispiel 29 beinhaltet drei Teile (A, B, C), die als Reprise wiederkehren. Die Reihenfolge der Bezeichnungen entspricht hier der Reihenfolge ihrer Wiederkehr.
2. Der A-Teil besteht nur aus zwei Vierteln, obwohl er bei seinem ersten Erscheinen in viermaliger symmetrischer Wiederholung getanzt wird. In der Reprise von A handelt es sich also nur um diese zwei Viertel. Diese werden dann zweimal getanzt. Die äußeren Wiederholungszeichen bei A sind also jeweils übergeordnete Zeichen, sie sind außerhalb des Reprisenzeichens geschrieben.
3. Alle drei wiederkehrenden Abschnitte haben hier die Länge eines ganzen Taktes. Die geschriebene Länge der Reprise muss aber nicht dieselbe Länge umfassen wie im Original. Hier wurde jeweils nur die halbe Länge bei der Reprise genutzt, obwohl sich die Tanzlänge natürlich nach dem Original am Anfang richtet.
4. Teil A kehrt in der Reprise als symmetrische Ausführung wieder, deshalb steht das Zeichen für symmetrische Wiederholung innerhalb des Liniensystems bei A (mit anschließender symmetrischer Wiederholung, wie das äußere Wiederholungszeichen hinweist: der Tschardasch-Schritt beginnt also nach links und anschließend nach rechts). Die Reprisen von B und C werden identisch wie beim ersten Mal getanzt.
5. Teil B wird im Original nicht wiederholt, bei der Reprise jedoch soll es drei symmetrische Wiederholungen geben.
6. In Beispiel 30 (fünf 4/4 Takte, mit äußerer symmetrischer Wiederholung insgesamt 10 Takte) gibt es nur einen Teil, der fünfmal getanzt wird (Teil A). Es ist ein Bruchteil eines Taktes, nur zwei Viertel. Die Reprise wird wie das Original mit zwei Vierteln bei jeder Wiederkehr angegeben (also nicht verkürzen!) Hier sind dies vier Kästchen.
7. Der später wiederkehrende A-Teil umfasst beim ersten Erscheinen das 2. und 3. Viertel im ersten Takt, bei der ersten Reprise das 1. und 2. Viertel des dritten Taktes, bei der zweiten Reprise das 3. und 4. Viertel des vierten Taktes, sofort anschließend das 1. und 2. Viertel des fünften Taktes und am Schluss das 3. und 4. Viertel des fünften Taktes. Eine Reprise ist also an keinen bestimmten Taktteil gebunden.
8. Bei der zweiten Reprise (im Takt 4) wird statt der dritten Phase (linkes Bein Schritt nach links) die erste und zweite Phase wiederholt (1. Achtel: linkes Bein Schritt links-rück auf den Ballen, 2. Achtel: rechtes Bein Schritt links-vor mit Kniebeuge). Diese Veränderung wird in das Liniensystem in das 2. Viertel der Reprise geschrieben (Takt 4, 2. Viertel).
9. Am Ende der Bewegungsfolge folgen zwei Reprisen aufeinander. Da jedoch jede Reprise hier keinen vollen Takt sondern nur einen halben Takt umfasst, nutzt man hier auch die inneren Wiederholungszeichen und nicht die äußeren Wiederholungszeichen. Daher erscheinen beide Reprisen nacheinander im Liniensystem.
Zur Schreibweise der Reprisenzeichen: Dort wo die Reprise mit einem Takt beginnt oder endet (das Reprisenzeichen mit einem Taktstrich zusammenfällt), wird der Taktstrich nach außen verlängert und das kleine Quadrat auf (am Anfang) bzw. unter (am Ende) den Taktstrich gesetzt. Ist die Reprise mitten in einem Takt, wird eine horizontale Linie für das Reprisenzeichen durch das Liniensystem gezogen. Diese Linie sollte schmaler sein als die Taktstriche und damit die Takteinteilung deutlich sichtbar bleiben. (Siehe Beispiel 30) oder als unterbrochene Linie wie in Beispiel 23b.
Beispiele
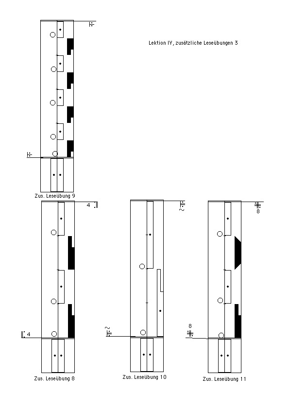
Leseübungen
3. Zusammenfassung
1. Die halbe Belastung auf einem Bein wird durch die simultane Schreibweise einer Übertragung und einer Geste gekennzeichnet. Die jeweiligen Richtungen stimmen überein, wobei für die Geste immer die Richtung tief genutzt wird (auch wenn für die Übertragung hoch/auf den Ballen oder mittelhoch/normal gestreckt geschrieben steht). (Abbildungen 1 – 3)
2. Beinpositionen, in denen beide Beine mit unterschiedlichen Höhengrade geschrieben stehen, haben auch Teilbelastungen zur Folge. Das Gewicht verschiebt sich notwendigerweise zu der Seite, in der der tiefere Höhengrad angezeigt ist.
(Hinweis: Schreibweise für 1/4 und 3/4 Belastung siehe Lektion VIII, Abbildungen 7 – 9)
3. Beim Schließen der Beine in eine Position mit halber Belastung gilt dieselbe Pausenregel wie bei voller Belastung: Wenn das Bein, zu dem heran geschlossen wird, kein Höhenlagenwechsel hat, muss ein Pausenzeichen für dieses Bein geschrieben werden.
4. Die Entsprechungszeichen und Wiederholungszeichen beziehen sich auf die Richtungen der Bewegungen und auf die sich bewegenden Körperseiten und Körperteile. (Da wir bis hierher lediglich Beinbewegungen abgehandelt haben, sind bisher nur Beinbewegungen gemeint.) (Abbildungen 7 – 9)
5. Die Entsprechungszeichen werden als äußere Wiederholungszeichen jeweils doppelt geschrieben: an den Anfang der Wiederholung links (vom Liniensystem) unten und an das Ende rechts oben. Sie werden bei der Wiederholung ganzer Takte (oder mehrerer Takte) angewandt. Die entsprechende Variante des Wiederholungszeichens zeigt die spezifische Art der Wiederholung an. Das zu wiederholende im Liniensystem ausgeschriebene Bewegungsmotiv soll entsprechend wiederholt werden und wird daher insgesamt zweimal getanzt (Beispiele 5a – 8a und ausgeschriebene Varianten 5b – 8b zur Erklärung).
6. Die Zahlen über, unter bzw. innen neben den äußeren Wiederholungszeichen bezeichnet die Gesamtzahl des zu tanzenden Motivs. (Abbildungen 14 – 17)
7. Die untergeordneten Wiederholungszeichen, die bestimmte Motive oder Takte umfassen, müssen natürlich von den übergeordneten Wiederholungszeichen, die die Gesamtbewegungsfolge umfassen, beachtet und ausgeführt werden. Letztere werden daher weiter außen und kräftiger bzw. größer geschrieben. (Beispiele 12 a, 13)
Wir lesen und tanzen also von innen nach außen: zuerst was im Liniensystem geschrieben steht, (einschließlich der inneren Wiederholungszeichen) dann die untergeordneten und am Ende die übergeordneten Wiederholungszeichen.
8. Die Wiederholungszeichen für die sogenannten en croix Trainingsübungen des Klassischen Tanzes sind spezielle Entsprechungszeichen, deren Regeln mit denen der äußeren Wiederholungszeichen übereinstimmen. (Beispiele 15b, 16b, 17 – 19)
9. Die Wiederholung von Taktteilen, die sogenannte innere Wiederholung, wird mit dem bestimmten Entsprechungszeichen geschrieben, das einzeln in das Liniensystem gesetzt wird. Das Entsprechungszeichen bezieht sich immer auf das dazugehörige zuvor ausgeschriebene Motiv, nicht auf das vorherige Entsprechungszeichen. (Beispiele 20b – 23b)
10. Die prima volta – seconda volta Schreibweise kann bei zu wiederholenden Motiven oder Motivreihen verwendet werden, bei deren Wiederholungen sich der Schluss, der Anfang (oder auch die Mitte) verändern. Die verstärkten waagerechten Linien vergleichbar den Taktstrichen zwischen den Varianten helfen beim Beachten der Veränderungen. (Abbildungen 24 – 28)
11. Reprise wird bei später wiederkehrenden Tanzabschnitten angewandt. Das den Tanzabschnitt umfassende Reprisenzeichen ist ein Großbuchstabe in einem Quadrat, das wie bei den äußeren Wiederholungszeichen am Anfang links unten und am Ende rechts oben an jeweils verlängerten Taktstrichen geschrieben wird. Die Art der Reprisenwiederholung wird durch das bestimmte Entsprechungszeichen angegeben, welches im Liniensystem steht. Handelt es sich bei der Reprise um einen bzw. mehrere ganze Takte, kann die zeitliche Länge bei der Wiederholung gekürzt geschrieben werden. Handelt es sich bei der Reprise nur um einen Bruchteil eines Taktes, muss die zeitliche Länge der Wiederholung genau der angegebenen Reprise im Original entsprechen. (Beispiele 29, 30)
12. (Siehe auch Wiederholungs- und Entsprechungszeichen A. Hutchinson 515ff. Und A.Knust 83 – 90, 793, 817ff, 839ff.,997ff)
4. Schreibaufgaben
Bitte schreiben Sie alle Beispiele und Leseübungen aus den Lektionen I bis III neu auf, die sich mit äußeren Wiederholungszeichen einfacher schreiben lassen. Achten Sie darauf, die Taktarten beizubehalten (man kann beispielsweise nicht durch ein Wiederholungszeichen aus einem 4/4 Takt in einen 2/4Takt wechseln).
1.Schreibaufgabe
Dauer: vier 2/4 Takte, Ausgangsposition: I. Position
1. Takt, 1.Viertel: rechtes Bein Schritt nach rechts auf den Ballen, 2. Viertel: linkes Bein Schritt rechts-vor mit Kniebeuge, 2. Takt: identische Wiederholung des 1. Taktes, 3. Takt, 1. Viertel: rechtes Bein Schritt nach rechts auf den Ballen, 2. Viertel: linkes Bein Schritt an den Platz neben das rechte Bein in die I. Position auf den Ballen, 4. Takt, 1. Viertel: absenken beider Beine auf die ganzen Sohlen und Kniebeuge, 2. Viertel: Pause für beide Beine, Takte 5 – 8: symmetrische Wiederholung der Takte 1 – 4.
2. Schreibaufgabe
Dauer: ein 3/4 Takt, Ausgangsposition: I. Position
1. Takt, 1. Achtel: rechtes Bein Schritt vor mit Kniebeuge, dabei wird das linke Bein nach links-tief gehoben, 2. Achtel: rechtes Bein Kniestreckung und auf den Ballen heben, dabei das linke Bein im Bogen nach vor-tief führen, 2. Viertel: linkes Bein Schritt vor auf den Ballen, 3. Viertel: rechtes Bein Schritt vor auf den Ballen, Takt 2: 1. Takt wird in symmetrischer Entsprechung/Gegenspiel vollständig wiederholt.
3. Schreibaufgabe
Dauer: sieben 2/4 Takte, Ausgangsposition: I. Position
1.Takt, 1. Viertel: linkes Bein Schritt links-rück auf den Ballen, 2. Viertel: Schritt rechtes Bein links-vor mit Kniebeuge, 2. Takt, 1. Viertel: linkes Bein Schritt links, 2. Viertel: rechtes Bein schließt mit halber Belastung an den Platz neben das linke Bein in die I. Position, 3. Takt, 1. Viertel: rechtes Bein Schritt rechts, 2. Viertel: Pause, rechtes Bein bleibt belastet, Takte 4 – 6: identische Wiederholung der Takte 1 – 3, wobei es bei der Wiederholung zu folgender Veränderung bei Takt 3 kommt: 6. Takt, 1. Achtel: rechtes Bein Schritt rechts, 2. Achtel: linkes Bein Schritt an den Platz neben das rechte Bein, 2. Viertel: rechtes Bein Schritt rechts mit Kniebeuge, 7. Takt, 1. Viertel: rechtes Bein Kniestreckung und linkes Bein schließt an den Platz neben das rechte Bein in die I. Position, 2. Viertel: Pause für beide Beine. Takte 8 – 14: symmetrische Wiederholung der Takte 1 – 7.
4. Schreibaufgabe
Dauer: sieben 4/4 Takte, Ausgangsposition: I. Position
Drei wiederkehrende Teile zur Übung von Reprisen
Teil 1: Dauer: ein 4/4 Takt, 1. Viertel: rechtes Bein Schritt vor auf den Ballen, 2. Viertel: linkes Bein Schritt vor mit Kniebeuge, 3. Viertel: rechtes Bein Schritt rück auf den Ballen, 4. Viertel: linkes Bein Schritt an den Platz auf den Ballen neben das rechte Bein in die I. Position.
Teil 2: Dauer: ein 2/4 Takt, 1. Achtel: rechtes Bein Schritt rechts, 2. Achtel: linkes Bein Schritt an den Platz auf den Ballen neben das rechte Bein, 2. Viertel: rechtes Bein Schritt rechts mit Kniebeuge.
Teil 3: Dauer: ein 4/4 Takt, 1. Viertel: rechtes Bein Schritt rück, 2. Viertel: Pause, Gewicht bleibt auf rechtem Bein, 3. Viertel: linkes Bein Schritt rück, 4. Viertel: Pause, Gewicht bleibt auf dem linken Bein.
Aneinanderreihung der gesamten Bewegungsfolge:
1. Takt: Teil 1; 2. Takt, 1. und 2. Viertel: Teil 2; 3. Viertel: linkes Bein Schritt links, 4. Viertel: rechtes Bein Schritt mit halber Belastung an den Platz, neben das linke Bein in die I. Position; 3. Takt, 1.und 2. Viertel: Reprise Teil 2 (identische Wiederholung), 3. Takt, 3. und 4. Viertel: Reprise Teil 2 (symmetrische Wiederholung); 4. Takt: Teil 3; 5. Takt, 1. Achtel: rechtes Bein Schritt rechts auf den Ballen, 2. Achtel: linkes Bein Schritt an den Platz auf den Ballen neben das rechte Bein, 3. und 4. Achtel: identische Wiederholung der letzten beiden Schrittbewegungen, 3. und 4. Viertel: Reprise Teil 2 (symmetrische Entsprechung/Gegenspiel); 6. Takt: Reprise Teil 3 (symmetrische Entsprechung/Gegenspiel); 7. Takt, 1. und 2. Viertel: Reprise Teil 2 (symmetrische Wiederholung), 3. und 4. Viertel: Reprise Teil 2 (identische Wiederholung).